客户端

有材APP下载

新材料在线APP下载

寻材问料下载

开通会员

精彩推荐

会员享研报折扣价、看项目BP、约投资人、每日在通讯录加更多好友等特权

开通会员 查看会员特权

登录/注册

热门媒体号

热门企业号

特斯拉电池专利申请:改进液冷电池防过热

来源:盖世汽车|

发表时间:2018-09-11

点击:8881

与大型汽车制造商们在电动车上使用数百个大型电池芯不同,特斯拉使用的是数千个小型电池芯。此类电池芯,如大型电池芯一样,因能量输入和输出,需要避免发烫。特斯拉电动车电池也有一些过热问题,但是问题不大。


但并不意味着特斯拉没有尝试改进其电池组。据外媒报道,上周,美国专利商标局(U.S. Patent & Trademark Office)发布了特斯拉提交了一份专利申请,名为“电池组冷却高压电解”(High Voltage Electrolysis of Coolant in a Battery Pack)。


电动汽车,黑科技,前瞻技术,特斯拉电池,特斯拉电池专利,特斯拉液冷电池专利,特斯拉电池防过热,汽车新技术

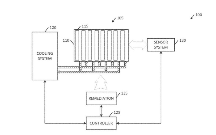
该电池冷却专利描述了一种新型冷却系统,该系统使用含有两种不同液体的冷却剂溶液。两种液体混合在一起,形成新液体,然后随着液体混合预设比率的变化,混合液体会有不同沸点。冷却系统的传感器监控电池模块高压电解情况,并可自动修复,以降低高压电解时可能的风险。该专利的目的就是限制单个电池芯和电池模块可能存在的过热工况。


该专利申请表示,一旦过热反应开始,过热就会在整个电池组内或者电池组内一部分蔓延,直到过热电池充分冷却,否则整个电池组或部分电池组会被耗尽。但是,电池必须加热到200摄氏度才可释放能量。虽然高压电解造成电池过热的风险很大,但是另一风险,即电解化学反应,产生氢气也会出现。某些条件下,电解过程中释放的氢气会积聚在电池组内部,会造成威胁。


针对上述问题常规解决方案是,一旦乘客和路人离开车辆,就让高压电解继续进行,因为安全停止电池高压电解很难。因此,需要有一个装置和方法,用于检测和响应电动车电池内高压电解情况,以限制各个电池单元和模块过热。

“本文由新材料在线®平台入驻媒体号盖世汽车提供,观点仅代表作者本人,不代表本网站及新材料在线®立场,本站不对文章内容真实性、准确性等负责,尤其不对文中产品有关功能性、效果等提供担保。本站提醒读者,文章仅供学习参考,不构成任何投资及应用建议。如需转载,请联系原作者。如涉及作品内容、版权和其它问题,请与我们联系,我们将在第一时间处理!本站拥有对此声明的最终解释权。”

点击咨询

客服

下载APP

公众号

让客服与您联系

留下您的联系方式,让客服为您提供专属服务

关闭