客户端

有材APP下载

新材料在线APP下载

寻材问料下载

开通会员

精彩推荐

会员享研报折扣价、看项目BP、约投资人、每日在通讯录加更多好友等特权

开通会员 查看会员特权

登录/注册

热门媒体号

热门企业号

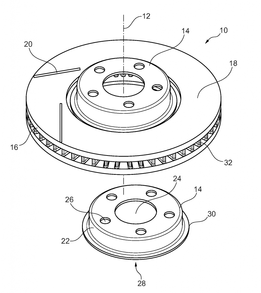
福特申请3D打印制动盘专利,采用激光沉积焊接技术

来源:南极熊3D打印|

发表时间:2018-08-21

点击:11576

全球的汽车公司纷纷在3D打印领域布局,福特全球技术有限责任公司是福特汽车公司的专利管理和版权部门,2018年8月21日,南极熊从外媒获悉,该公司已经提交了一份申请,详细说明了使用3D打印制造轻型制动盘的方法。

该专利所描述的方法是使用激光沉积焊接技术,一种与激光金属沉积(LMD)相似的技术,能够将新材料打印到预制基板。


△混合轻质制动盘和生产方法

创新的最前沿

多年来,福特一直致力于创新的前沿,在开发和采用增材制造工艺方面投入了大量的时间和金钱。早在2015年,该公司就参与了Carbon 3D的CLIP 3D打印技术早期访问计划,另外福特还拥有Stratasys的设备。

最近,该公司将福特智能移动老板Jim Hackett提升为负责先进制造业的首席执行官,并在2018年初为马萨诸塞州3D打印机制造商Desktop Metal投资了6500万美元的资金。

重新发明轮子

制动盘通常由铸铁制成,并加工成所需的结构。然而,福特正在寻求使用铝来制造制动盘,这有可能使其重量减少50%。

然而,如专利申请所详述的“这种制动盘”具有明显的缺点。

“一方面,与灰铸铁材料相比,铝合金不具备必要的耐磨性,铝合金的熔点也低于650℃。”

在典型的自动电机和运动(AMS)测试中,重复的制动操作会产生超过750°C的温度,这会使全铝制动盘液化。因此,铝需要进行改性。

如发明人所述:“在通过使用激光沉积焊接工艺或3D打印工艺进行摩擦环的熔融冶金建立期间,粉末形式的快速凝固的铝合金保持其有利的机械性能。通过这种方式,例如可以实现摩擦环的高水平的热稳定性和高水平的耐磨性,从而可以省去摩擦环的后涂层。”


△全混合轻质制动盘及生产方法

福特的“混合轻质制动盘和生产方法”于2017年1月20日提交。

“本文由新材料在线®平台入驻媒体号南极熊3D打印提供,观点仅代表作者本人,不代表本网站及新材料在线®立场,本站不对文章内容真实性、准确性等负责,尤其不对文中产品有关功能性、效果等提供担保。本站提醒读者,文章仅供学习参考,不构成任何投资及应用建议。如需转载,请联系原作者。如涉及作品内容、版权和其它问题,请与我们联系,我们将在第一时间处理!本站拥有对此声明的最终解释权。”

点击咨询

客服

下载APP

公众号

让客服与您联系

留下您的联系方式,让客服为您提供专属服务

关闭